AI行业的未来10年之争

谷歌,你他妈的抄袭了iPhone,完全抄袭了我们。’这是偷窃,如果有必要,就算用尽最后一口气,花光苹果账户上的400亿美元现金,我也要纠正这个错误。我要摧毁安卓,因为它是偷来的产品。

说完这句话,乔帮主还不忘再加深一下谷歌的负罪感:“他们怕得要死,因为他们知道自己有罪。除了搜索引擎,谷歌的其他产品——包括安卓和Google Docs——都是狗屎。”

为了备战这场旷日持久地专利诉讼,苹果在2011年7月初以45亿美元的高价买下了加拿大北电网络的6000余项移动专利;出价不敌苹果的谷歌,则在一个月后花费125亿美元的天价买来摩托罗拉移动。

这批价值上百亿美元的专利,为2010年3月开始的苹果诉讼HTC的阵营双方备足了火力。随后,摩托罗拉起诉苹果侵权,苹果接着反诉,专利大战的局面逐渐演变成“杀敌一千,自损五百”……直至2012年底双方和解,安卓阵营才算立稳了脚跟。

跟这场大战相比,高通今年在无线芯片专利上轮番被苹果、三星和英特尔起诉的商业大战就有点小巫见大巫了。不过,为掌控科技的未来,几家巨头从来都是不计成本的,特别是在当下热门的人工智能、自动驾驶、AR/VR、医疗健康、网络安全等领域。

最近,CBInsights专门研究了一遍Amazon、谷歌、Facebook、苹果和微软这5大巨头在过去9年内的相关专利,接下来新的专利大战的雏形似乎已经开始显现。而通过专利之战,我们也能窥见这5大巨头未来十年的战略动向及兵戎之争。

人工智能方面:谷歌目前拥有最多的人工智能专利申请,而苹果则落后于其他竞争对手。

自动驾驶汽车方面:在自动驾驶汽车的支撑软件和传感器的开发竞赛中,谷歌目前也是一家独大。但是,自动驾驶汽车和无人机的自主权争夺和竞争正愈演愈烈。

网络安全方面:网络日益成为最高管理层面的问题,五大巨头均在加大力度确保用户信息安全并防止信息被滥用。

增强现实/虚拟现实方面:尽管AR/VR总体的专利申请项目数量有限,但苹果正在努力推进移动增强现实业务,使ARKit领跑这一领域。

医疗保健:有一家公司为该领域的发展做出了特别的推动。这家公司不是谷歌。

我们分析中的亮点包括:

  •  谷歌申请的专利涉及领域最为广泛。
  •  用AI技术指导计算机去学习。
  •  为自动驾驶和无人机构建“大脑”而比拼。
  •  防止欺诈和滥用是至关重要的
  •  设计一个增强的未来以提高生产力。
  •  医疗保健未来之战。
  •  通过关键词来了解五大巨头各自的创新优先级

谷歌申请的专利涉及领域最为广泛

下面的表格高度概括了在各类商业机遇中,亚马逊、谷歌、脸书、苹果和微软最为关注的一些尖端技术专利。

由上表可知,谷歌目前正在申请的专利涉及到的领域最为广泛,包括了机器人相关的人工智能、计算机视觉以及无人车和无人机。除此之外还包涵了云计算和云存储、移动设备、可穿戴技术如交互式纺织品,以及增强现实、虚拟现实技术和智能家居设备。

亚马逊则重点关注自动化并增强仓库及物流流程。此外,它们还提高了亚马逊机器人Alexa作为人工智能助手的能力,使其可以更好地理解自然人类的语言,也是该公司研发任务的重中之重。考虑到该公司发展重点的AWS部门,云计算势必会在亚马逊未来的创先布局中充当重要的角色。

脸书公司则专注于网络安全和移动UX / UI,并且优先考虑眼球追踪、情绪检测和情绪分析。因为这些技术可以用来提高精准投放广告的质量。该公司的其他专利申请还包括在虚拟现实模拟和无人机研究方面的创新,其中无人机研究的创新是为了从空中推送互联网服务。

苹果的专利申请则可以与iPhone和其外围设备的创新联系起来。苹果还围绕AR和ARKit等进行了创新(注:ARKit是一种在iPhone和iPad上用于创建增强现实体验的开发框架)。

值得注意的是,苹果在五大巨头中最致力于掌控数字医疗的未来。目前苹果已申请了将手机变成诊断设备以及通过可穿戴设备等来生成心电图的一项专利。

微软在同行中拥有最多的专利申请数量。该公司的应用集中在改善软件开发业务以及与公司硬件设备相关的创新上。此外,微软还专注在云计算、增强现实/虚拟现实、移动集成、无人机组件和网络安全等方面。

用AI技术指导计算机去学习

对专利名称和摘要部分检索关键词,例如“AI”。不包括收购公司预获得的专利。

注意:在专利公开之前的这段时间里,可能无法被专利统计程序检索,通常会延期几个月到最多两年,也就是说在2013年之前的记录已经全部分析在内了,但是可能还有些2014年之后的专利还没有公开,没有统计到。

上面这份AI专利数据显示,苹果在这一领域落后于另外四家公司。这不免引起人们担心,苹果公司的Siri在性能和功能方面是否真的落后于亚马逊和谷歌公司旗下的虚拟助手。

从2009年算起,谷歌已经申请了将近300份人工智能相关的专利。

而微软以近270份专利的数量紧随其后,接着是亚马逊和脸书,两家都有70多份人工智能相关的专利在手。

相比之下,到目前为止,苹果在过去的九年中只申请了不到30项的人工智能专利。

五大科技公司主要利用人工智能,通过一种称为机器学习的技术来指导计算机如何查看和分类图像,以及如何理解和反馈自然人类语言。

目前,人工智能方面的专利申请侧重在智能机器人开发、自动驾驶汽车、自动送货无人机、AI助手等。

AI领域,当下最迫切的需求是一个能将以上所有功能集成一体的AI助手。所以,AI助手的争夺正在谷歌、亚马逊、苹果和微软之间激烈展开。因此,这些公司申请的专利基本上都和训练计算机使其能识别人的声音并理解自然人类语言有关。

计算机视觉

业内关于计算机视觉领域的最新进展:五大巨头均在申请训练计算机如何查看和分类图像方面的专利。

  • 微软和脸书希望计算机能够分析用户的面部表情,并以此为基础改善相关的线上体验。
  • 谷歌正在开发人脸面部识别功能,以增强在线支付交易中对用户身份进行验证的能力。
  • 不出所料,苹果在面部识别技术研发上所作的努力是确保苹果设备的安全。
  • 相比之下,亚马逊并不热衷开发人脸面部识别技术。在计算机视觉领域,亚马逊和谷歌分别在研发库存管理相关的图像分类技术和增强网页搜索技术。

微软专利申请(20170228583):“基于面部分析的代表性内容创建” – 2017年8月

预测

预测是最新涌现出来的用户服务。

  • 五大巨头正利用机器学习技术来预测用户行为并依此提供高度个性化的客户体验服务。微软正在开发基于用户旅行爱好来提供旅游推荐的技术。
  • 谷歌希望能预测生成精确的搜索建议。
  • 脸书正致力于预测在线信息的覆盖面和频率来助力广告精准投放。
  • 亚马逊正从消费者的行为中学习,在用户意识到他们有需求之前将物品推送给用户。

机器人AI

相比之下,针对机器人的AI则显得冷门一些,五大巨头中只有两家公司优先发展机器人AI。

  • 亚马逊致力于研制自动抓取库存物品的机器人。
  • Google公司也正在开发机器学习算法,以帮助机器人看到并理解可视信息。这同时表明Google公司尽管在今年已经把旗下的机器人公司Boston Dynamics卖给了软银,但并未放弃人形机器人制造领域。

谷歌专利申请(20170252924):“深度机器学习方法和机器人抓取装置”- 2017年3月

 

自动驾驶和无人机“大脑”竞赛

对专利名称和理论检索关键词,例如“交通工具”。不包括收购公司预获得的专利。

注:在专利公开之前的这段时间里,可能无法被专利统计程序检索,通常会延期几个月到最多两年,也就是说在2013年之前的记录已经全部分析在内了,但是可能还有些2014年之后的专利还没有公开,没有统计到。

  • 在汽车自动驾驶专利申请方面,亚马逊落后于谷歌。
  • 自2009年以来,谷歌公司申请了近500项专利,并且对于无人机的使用场景有很多启发性的思考,例如医疗无人机车队和公用事业服务无人机,等等。
  • 亚马逊公司以大约150项专利位居第二。这些专利主要用于配送快递包裹。
  • 苹果公司拥有70多项专利,而微软公司以近70项专利居于第四。
  • 脸书在此期间申请的自动驾驶或无人机专利数量不足10个。但是,别轻易把脸书置于自动驾驶或无人机的竞争之外。事实上,脸书和亚马逊都押注于未来,他们的产品和服务终有一天会横空出世。
  • 不再关注造车: 五大巨头已经大大缩减了从零开始创造自动驾驶汽车品牌的雄心壮志。
  • 最值得注意的是,苹果公司在这个领域申请的专利相对较少,因为苹果现在正专注于建立CEO库克(Timothy D. Cook)所说的“自动驾驶系统”,或许它的目标是为其它实体汽车制造公司提供服务。
  • 但是并不是只有苹果公司一家放弃了走自动驾驶的硬件路线,同样,亚马逊和脸书都没有造车的决心。
  • 微软虽然仍在申请与自动驾驶车辆的传感器和软件相关的专利,但总体上它仍与苹果公司持平。
  • 谷歌可能是五大巨头中最接近实体汽车制造公司的了,因为它与自动驾驶汽车创业公司Waymo有着特别的关系。
  • 根据专利申请显示,五大巨头都十分重视构建软件和传感器,因为这是支撑汽车自动驾驶能力的基础。例如,谷歌和微软都在申请利用LIDAR传感器的创新技术专利。LIDAR传感器在探测和量距方面优势明显,可以扫描车辆周围的环境从而为自动驾驶决策提供信息。

Google专利(9778364):“配有激光雷达(LIDARS)设备的车辆” – 2017年10月

自动驾驶车队:

  • 谷歌、微软和亚马逊均在为未来的自动驾驶车队能够共享信息以及协同提高效率和安全性能做准备。特别是谷歌,目前正在设计用于确定无人车接送区的系统,以及在汽车之间共享驾驶信息的系统。
  • 微软和亚马逊也都至少拥有一项能够在行车道上定位无人车的专利。
  • 汽车联网的安全性和稳定性:汽车联网带来了一些新的关于稳定性和安全性的担忧,五大巨头正在加紧进行研究。
  • 谷歌利用全新的反欺骗解决方案,为联网的无人车提供安全保障,防止汽车失窃。基本上可以做到防止有人冒充你从而偷走你的无人车。
  • 谷歌还设计了一个方案,使执法部门能够强制命令汽车在路边停下。
  • 微软也至少拥有一项专利,可以利用智能手机的震动作为实时预警,来保护人们免于汽车碰撞。

自主式无人机:

  • 自主的定义不局限于地表,亚马逊,谷歌和脸书正努力拓宽无人机所能抵达的范围。
  • 亚马逊在提高无人机用于城市包裹配送的性能上拥有众多创新。贝佐斯的专利引擎在升级无人机硬件专用组件方面有相当多的应用程序有待解决。例如,亚马逊力求做到在未来某一天可以使用无人机配送包裹到你家门口。安全罩的专利申请就证明了这一想法。这种安全罩可以探测到人或宠物何时接近无人机,然后从悬停的无人机上卸下包裹,并减弱无人机发出的声音。

亚马逊申请专利(20170197718):“系绳补偿空运” – 2017年7月

 

  • 毫无疑问,亚马逊在配送和物流方面的丰富经验让它在竞争中脱颖而出。
  • 谷歌则热衷于探索无人机更多的使用场景。需要注意的是,谷歌已经被授予与亚马逊自动送货无人机类似的专利。而且谷歌已经拥有系绳式无人机手臂来放置包裹的专利,并且拥有可以控制无人机与接收包裹的人进行交互的系统专利。
  • 此外,谷歌还探索设计了可以按需提供医疗用品的无人机车队,以及提供维护电力线服务的无人机。
  • 脸书依赖于让更多的用户可以访问互联网来提高对它的平台的使用。根据这一需求,该公司正在申请一项专利,利用无人机从天空中连接互联网,特别是在地球上以前未连接的地区。
  • 脸书的无人机专利申请包括为无人机远程供电,使其能够无限期保持在高空中工作(特色如下),以及为无人机启用宽带通信。

Facebook专利(20170183095)“无人机遥控供电” – 2017年6月

该分析是基于过滤专利的题目和摘要来选择相关联的关键字。例如,“网络安全”。对收购的公司而言,不包括其公司被收购前的专利。

注:在专利申请公布之前,由于专利的申请过程往往会占用很长时间。这种延迟可能是几个月到两年之间,这意味着在进行该专利分析时,包含了2013年之前的记录,但是从2014年起可能有些公司申请的专利还没有公布

防欺诈和防滥用方面

防止重大技术手段用于欺诈和滥用是至关重要的。近日,全球各地的公司都被网络安全问题搅得一团糟(一些公司因为网络安全问题已经倒闭了),其中一些公司的安全漏洞达到了C-suite级别,甚至有一些公司的首席执行官因为网络安全问题的重大事故而丢掉了工作。因此,五大公司正在优先考虑各公司旗下产品的身份认证安全,并采取了一定的技术手段来防止坏人滥用其产品和服务。

  • 自2009年以来,我们可以看到微软在网络安全方面的专利申请量已经遥遥领先,拥有超过900多项专利。其中大部分专利是针对普通企业的网络安全。
  • 谷歌以接近650项的专利数量排名第二,其次是拥有530项专利的苹果和拥有接近450项专利的亚马逊。脸书公司在近期已经申请了近90项网络安全专利。虽然数量上略显寒酸,但是这个相对很有限的专利储备并不意味着脸书公司无法确保未来在线社交网络的安全。
  • 脸书公司在安全方面聚焦于:脸书不仅面临数据安全的挑战,同时还需要解决社交欺诈对平台带来的影响,平台上恶意的操纵行为和针对货币的平台滥用,以及在某些特殊情况下必须考虑的政治利益。诚然,脸书也可能成为恶意群体的数字会议场所。
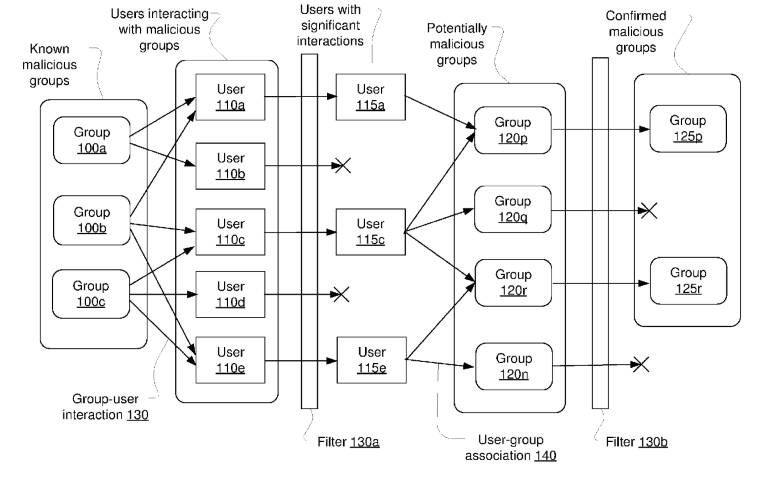
  • 脸书公司最近的一项专利申请,如下图所示,显示了其为了防止产品被滥用,如何通过基于与已确认的恶意组织的关联信息来对用户进行分类和标记。

脸书专利(20170243314)针对“基于用户关联的社交网络对象分类” – 2017年8月

身份认证和网络安全方面:所有的五大公司均拥有与身份认证和访问管理相关的专利申请。这是为了保护用户的个人身份信息并防止未经授权的账户访问。

所有五大公司都拥有的与网络安全相关的专利,为了防止恶意软件感染端点的设备,从而危害企业网络,其在应用方面还涵盖了每个端点的安全。常见的网络安全创新方面的主题其实也包括云计算环境的安全性,数据加密和多因素身份认证等。

苹果公司在网络安全创新方面的布局,包括有确保苹果用户能够安全的访问在iPhone上的数据。例如,在访问苹果设备的方式上,苹果公司持续申请了生物识别、指纹识别和面部识别的专利。

而五大公司中的少数几个在设计其他的网络安全措施方面显得比较出色。

行为分析方面:网络安全的行为分析涉及到开发识别和(或)认证用户的系统,其方法至少是部分采用了与存储的行为事件进行对比的想法。亚马逊和微软,两个公司都拥有与使用行为分析来连续认证相关的专利。微软公司已经申请了与计算机网络生命周期监测算法相关的专利和用于安全的连续认证用户的技术专利。同样,亚马逊公司正在探索如何检测计算机系统运行中的异常行为。

生物识别安全:谷歌和苹果正在利用生物识别技术来实现身份认证安全。谷歌正致力于研究数字支付和身份识别方面的工作。该技术的应用层面包括使用人脸识别来确认交易中的用户和使用生物识别统计眼部信号来进行连续认证等。

数字图像->瞳孔中心定位->确定虹膜边缘->计算Gabor变换->计算“虹膜编码”->正样本压力测试

谷歌的专利申请(20170235931)“识别眼睛信号并进行连续生物识别认证的系统和方法” – 2017年8月

AR/VR方面:

为了生产率的提高,五大公司都尝试构建出一个更强大的蓝图

该分析是基于过滤专利的题目和摘要来选择相关联的关键字。例如,“虚拟化”。对收购的公司,不包括其公司被收购前的专利。

注:在专利申请公布之前,由于专利的申请过程往往会占用很长时间。这种延迟可能是几个月到两年之间,这意味着在进行该专利分析时,包含了2013年之前的记录,但是从2014年起可能有些公司申请的专利还没有公布

想象一下,在未来,你只需要坐在家里,戴上你的虚拟现实耳机,就可以在模拟世界的幻想之旅中拂去一个小时。 接下来继续想象一下,一个工厂经理,在她工作的地方,面对显示器通过戴一个增强现实眼镜就能够实时掌握所有的情况。

这五大公司都涉足了增强现实或虚拟现实领域,并且正致力于不同方向的工作,这些都将为我们的虚拟未来奠定基础。微软已经拥有了最多的AR / VR专利申请,有超过600项。其次是谷歌的接近400项专利。苹果和亚马逊两个公司都有大约250项专利,而脸书排在第五位,拥有接近100项专利。这些公司都看到了AR / VR在游戏和娱乐方面带来的益处。因此,可以肯定的说,2017年,这五大公司在这方面都至少会拥有一个专利申请。

On the Bleeding-edge(译者注:为方便理解,做如下注解。在计算机领域,Bleeding edge指一种最新以至于因此也并非完美的技术。使用者为了它的新,就要拿稳定性和产量来冒险。)。亚马逊公司甚至申请了一项专利,是关于在大规模的网络游戏中模拟和观察虚拟互动的效果,以此来得知甚至预测现实世界中的结果。

增强用户的(虚拟)体验:

  • 微软,谷歌和脸书都致力于改善AR / VR应用程序的用户体验。
  • 微软已经设计了一个系统来减轻头戴式AR设备佩戴者的眼睛疲劳,而另一个系统使用户能够在模拟环境中抓取物体。
  • 谷歌已经申请了一项专利,是用于优化增强现实环境中的转换系统,以便于在不同的模拟中输入输出,以及在AR / VR环境中传送特征。脸书公司已经申请了与在虚拟现实环境中导航有关的专利,这个就相当于拥有了一个360度的虚拟现实相机。

谷歌的专利申请(20170160815),用于“增强和(或)虚拟现实环境中的传输”- 2017年6月

未来的工作方向:五大公司正在设计硬件和软件,将AR / VR模拟纳入可以直接提高现实中生产率的领域。这包括用于导航的增强现实应用程序,和为履行中心的工作人员提供的头戴显示器等等。

  • 亚马逊公司正在带头开发增强现实的应用程序用来提高工作效率,特别是在其履行中心。例如,在物流方面有一项专利申请是用于在履行中心中的工作者,可以更新在用户界面中显示的物流信息。

亚马逊专利申请(9632313)“促进履行的增强现实用户界面” – 2017年4月

  • 苹果公司正在侧重移动端增强现实,引领增强现实方面的创新,专注于为iPhone用户提供增强现实的体验。苹果公司申请了多项专利,包括如下的基于移动端的增强现实地图,以及在增强现实环境中测量距离的技术。谷歌也对移动端的增强现实展现了兴趣,采用在模拟环境中跟踪手持设备和设备配对的方法来改善移动端增强现实的体验。

苹果专利申请(20170074675)“增强现实地图” – 2017年3月

医疗保健的未来之战

该分析是基于过滤专利的题目和摘要来选择相关联的关键字。例如,“健康”。对收购的公司,不包括其公司被收购前的专利。

注:在专利申请公布之前,由于专利的申请过程往往会占用很长时间。这种延迟可能是几个月到两年之间,这意味着在进行该专利分析时,包含了2013年之前的记录,但是从2014年起可能有些公司申请的专利还没有公布

  • 在五大公司整个的专利储备行动上,医疗保健相对较不突出。然而,五大公司中至少有三家来争夺医疗保健的未来。微软在过去的九年里拥有最多的专利,有120多个对应的应用程序。自2009年以来,苹果和谷歌共计约有40项专利申请。值得注意的是,苹果公司在移动端医疗领域已经拥有了巨大的市场机会。仅在美国,苹果就拥有超过8000万的iPhone用户,这使得任何单一的健康保险公司的用户数量都会小得多。
  • 苹果,谷歌和微软公司在医疗行业相对于其他的老牌医疗健康企业,如医院和制药公司,还有另外一个巨大的优势:不像药物公司和医院组织,这些科技巨头不必追求医疗保险公司的报销。相反,他们可以承担其开销并且更专注于病人的体验和病人的结果。
  • 同样值得注意的是,亚马逊已经拥有了无线心率检测专利。
  • 电子健康记录和医学研究的未来:微软,苹果和谷歌都关注电子健康记录(EHR)的自动收集,传播和分析。但是,每家公司都有自己独特的收集和综合用户个人健康数据的途径。
  • 微软拥有一项自动收集电子健康记录,并设计自动警报来研究不良药物反应的专利。其在健康方面的设计大多集中于获取数据并存储下来用于医学研究。而微软至少有一项专利申请是用于鉴定全基因组关联研究中的相关性,另外一项则是利用健康数据库来鉴定处于风险的健康地区。
  • 苹果的ResearchKit是一个允许研究人员使用iPhone进行大规模研究的应用程序。现在越来越多的机构和企业使用它,因为这个应用程序越来越多地表现出它的实用性。
  • 谷歌正在使用一种医疗数据管理的方法,其主要是利用神经网络来编译和获取从大量的非结构化医疗数据中得到的意义并据此来预测结果。
  • 从操作系统开发人员到健康提供者:苹果和谷歌正在争夺通过穿戴设备来捕捉用户的健康状态和健康数据。
  • 谷歌正在寻求创建一套可供选择的可穿戴设备和传感器,以实现实时的健康诊断。谷歌主要致力于创建新型无创传感器,用于识别可穿戴用户何时受伤或处于危险之中。这些可穿戴设备包括收集诊断信息的电子皮肤粘合剂等等。
  • 苹果公司在健康方面的创新主要依靠苹果产品中已有的传感器,相机和计算能力,例如iPhone,Apple Watch甚至AirPods。使用iPhone或Apple Watch,收集的健康数据可以存储并与医生和护理人员共享。同样,苹果公司也设计了一种方法,使病人能够使用移动设备发起远程医疗治疗。
  • 苹果专注于健康和生活方式管理,加上AirPods和人工智能助手Siri,可能意味着苹果将探索健身教学和健身来主动的保持用户的健康。

苹果的专利申请(9723997)“计算健康数据的电子健康设备” – 2017年8月

发表评论